俗話說:讀萬卷書不如行萬里路,行萬里路不如師傅指路,今天吳總給大家指路,您們可要仔細聽講了。
中聯混凝土泵液控換向的工作原理主要有以下五大點:
一、液控換向與電控換向的原理區別
中聯混凝土泵發展初期都是已電控換向為主。
其工作原理為:從活塞清洗水箱或主油缸前端處,在水箱蓋板或主油缸上左右各安裝了一個接近開關,以拾取主油缸到位的電信號,反饋至PLC或控制器,再由PLC或控制器發控制信號給主缸或擺缸對油缸進行換向,實現循環泵送。
而液控換向的原理則是:當主油缸到頭時,其無桿腔的壓油進入有桿腔,形成壓差,當這個壓差符合邏輯閥的開啟條件時,其壓油進入控制油路(工作油路),形成液壓信號,控制系統換向,實現循環泵送。
二、電控換向與液控換向的優缺點
電控換向優點:結構簡單,便于電氣控制且故障率低;
缺點:換向沖擊較大,主油缸是否運行到油缸全行程,則無法感應。
液控換向優點:換向平穩,沖擊小,主油缸的行程能全部到位;
缺點:對液壓油要求較高,特別是信號油路液壓元件的泄漏(尤其是后期的磨損)對其影響較大,其故障率一般較高。
綜上所述:液控換向的泵,在泵送性能上明顯優于電控換向的泵,故中聯后期主要以液控換向的泵為主。但因液控換向的泵對系統清潔度及液壓元件的泄漏量(特別是后期的磨損)要求較高,如果達不到這個先決條件的話,將會出現如擺缸亂擺、行程不能到位等故障。
三、通過液壓原理與實物對照了解工作機理
下面我們通過具體液壓原理與實物對照來進一步了解一下液控換向的工作機理。
中聯混凝土泵(含泵車)液控換向原理簡圖:

中聯混凝土泵液控換向實物圖(含泵車,具體實物與位置有所區別):



圖4

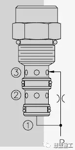
圖5 邏輯閥
備注:①信號(采集)油口 ②控制(工作)油口 ③先導油口
序號①與序號③壓差比值為1:2
四、液控換向原理
通過上面原理與實物對照后,我們簡述一下液控換向原理:
1、自動泵送啟動時,擺缸與主缸電磁換向閥先后得電(主缸一般延時200毫秒,同時注意正反泵邏輯關系),使擺缸與主缸先后動作。
2、 假設主缸進油從圖1的主閥A口出來,進入右缸的有桿腔(前端),此時,當主缸活塞運行到U型管處,因單向閥的截止作用,有桿腔的壓油無法進入無桿腔,無法形成兩腔的壓差,因而邏輯閥也不能開啟。同理,當主缸活塞過了U型管并在中間運行時,邏輯閥也無法開啟,無工作油推動擺缸小液動,故此時泵送系統不換向。
3、當主缸運行至右缸末端時,右缸有桿腔的壓油進入其無桿腔,同時,左缸也運行到了油缸的前端U型管處。此時,左缸無桿腔壓油(與右缸無桿腔連通)通過左無桿腔膠管(見圖3)到達邏輯閥的信號油口(見圖5序號1),其壓油通過了單向閥也進入了左缸有桿腔,通過左有桿腔膠管(見圖3)進入了邏輯閥塊的先導油口(見圖5序號3),當邏輯閥的信號油口與先導油口壓差達到了1:2的開啟比,邏輯閥打開,通過左工作油口(見圖5序號2)的膠管(原理見圖1中h油路;實物見圖4主缸左控制膠管)到達擺缸的小液動閥左部(見圖4),推動擺缸小液動閥換向,從而使擺缸主閥換向。
4、如果擺缸原來處在A口工作位置,經過換向后,將處于B口工作位置,此時,將從B口取一股壓油通過擺缸的右工作油管(原理見圖1的f油路;實物見圖4擺缸右控制膠管)到達主缸小液動換向閥右部(見圖4),推動主缸小液動換向閥換向,從而使主油缸換向。
5、反之,下一個周期將從左主油缸進油,按照上面的原理,形成循環不停地泵送過程!
五、從以上液控換向工作原理可能導致以下故障
1、邏輯閥的開啟條件是:信號油口與先導油口的壓差為:1:2。只要達到了這個條件,邏輯閥將發出控制油去控制換向。故主油缸的內泄、閥的內泄或故障將導致液壓邏輯的混亂,都會使邏輯閥有可能達到開啟條件,那時將會出現如主油缸不到位,擺缸亂擺等故障。
2、同時,液控換向的油路中,有濾網接頭、阻尼接頭,必須保證液壓系統的清潔度,否則,將會堵塞或堵死這些接頭。如果是堵塞的話會造成液壓邏輯信號的延遲,出現油缸換向憋壓等故障,堵死的話就會出現系統不能換向的問題。
3、中聯前期將左右兩缸邏輯閥塊的T口串聯在一起回油(見圖2、圖3中的T口),也可能出現回油串壓的可能,將導致擺缸亂擺的故障!后期,將此處斷開了,讓它們各自回油,擺缸亂擺的現象也因此得到了很大的改進!





